百度点击排名软件可以提升排名吗?现在出来了很多模拟点击网站快速排名的阮软件,作者也找了几款软件按来分别作了测试,有的软件确实能带来提升排名的作用,测试时间大概半个月,那么今天我们就来简单分析一下百度点击排名软件可以提升排名吗?
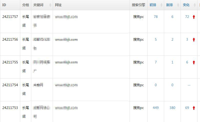
1)搜狗点击排名效果显著


搜狗测试时间一周,排名效果显著。
2)360排名效果也不错

3)百度点击排名效果相对来说效果最差

百度点击排名关键词排名上升速度是最慢的,而且有一部分点击后没有任何效果,相对于搜狗和和360来说,测试时间也是最长的。测试时间刚好半个月。
从上面的关键词排名案例来分析,点击也是有一定的技巧的,大概总结如下;
1) 优质IP 资源
所谓优质IP资源是指这些IP是模拟本地区用户真实模拟点击的,根据用户的搜索习惯来进行点击,拜师是很难区分的。
2)多个关键词+多个搜索引擎
关键词来路不是古固定一个或者几个,而是多个来路,更接近于真实用户点击,另外搜索引擎也不只是百度,而是针对百度,搜狗,360都有所点击。
3)点击次数和间隔
这个是很重要的一个原因,真实用户是不是在一个时间段大量点击的。所以点击必须按照时间去分配,包括停留时间也要合理控制,有深入点击也有100%跳出率的。
以上是推来客总结的百度点击排名软件可以提升排名吗,推来客网站所有文章均为原创,如需转载请注明来源,如果需要了解更多的网站优化知识,可以查看//www.tlkjt.com/marketing/, 如果遇到任何问题,请与本站客服联系,我们将会对你的问题进行一对一解答!

我们专注高端建站,小程序开发、软件系统定制开发、BUG修复、物联网开发、各类API接口对接开发等。十余年开发经验,每一个项目承诺做到满意为止,多一次对比,一定让您多一份收获!








































更新时间:2025-11-05 07:18:22
网站优化
7645